SSU applies for patent under NASA grant
|
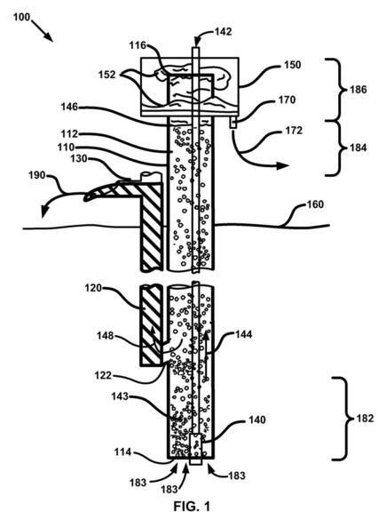
Posted By: Hija Chang on March 29, 2016 Savannah State University (SSU) has received letter of approval from the US Patent Office for a process invented by Christopher Hintz, Ph.D., an associate professor of marine and environmental sciences, and Amber Wilkinson, graduate student. Under a federal research grant from the National Aeronautics and Space Administration (NASA), Hintz and Wilkinson discovered an alternate way to harvest algae material using a procedure viable for space travel and colonization. Current methods for the harvesting process are notoriously difficult and often severely damage the algae itself, making it unusable. Some systems created to solve this problem – to remove the algae from its culture medium – are very expensive and often require more energy than would ultimately be harvested. Hintz and Wilkerson’s version can be made with a few low-energy components, compressed air and plastic pipe. View the patent application. Hintz thinks there could be multiple applications for the process, not just for space travel. Pharmaceuticals that need to make compounds and harvest yeast cells could benefit by being able to harvest without damaging cells. Savannah State University encourages the research being done by its professors and students and supports their efforts to apply for patents. The Intellectual Property Policy at SSU is consistent with other research universities and enhances the capability of the research being done by SSU faculty. Established in 1890, Savannah State University is the oldest public historically black college or university in Georgia and the oldest institution of higher learning in the city of Savannah. The university’s 4,800 students select majors from 30 undergraduate and six graduate programs in three colleges — Liberal Arts and Social Sciences, Business Administration and Sciences and Technology — and the School of Teacher Education. Media Inquiries: email Loretta Heyward at heywardl@savannahstate.edu or call her at: (912) 358-3049 If you enjoyed this article, Join HBCU CONNECT today for similar content and opportunities via email! |
Comments
More From This Author
Latest News
|
|
Rosen Foundation expanding scholarship program, partnering with Bethune-Cookman UniversityCarrying on the legacy of Harris Rosen and his commitment to education, today the Harris Rosen Foundation announced it is expanding its already-successful scholarship program and partnering with Bethu ...more
Reginald Culpepper • 178 Views • May 19th, 2026 |
|
|
Sinners vs. Michael: Which Film Actually Won the Ultimate Culture Debate?While Antoine Fuqua’s Michael is dominating the box office with its electrifying, stadium-level concert recreations and a star-making, uncanny physical performance by Jaafar Jackson, critics and film ...more
TaQuan Ford • 184 Views • May 16th, 2026 |
|
|
Healthcare Career Fair Aims to Connect Employers with Qualified Local Talent in Northern VirginiaHealthcare organizations across Northern Virginia will have an opportunity to connect directly with qualified job seekers this June during the upcoming Healthcare Career Fair in Prince William County. ...more
Reginald Culpepper • 362 Views • May 15th, 2026 |
Popular News
|
|
North Carolina HBCU Unity DayShaw University - Elizabeth City State University - Johnson C. Smith University - Fayetteville State University - Livingstone College - North Carolina A&T State University - North Carolina Central Uni ...more
Reginald Culpepper • 109,284 Views • August 8th, 2016 |




